
电动调节蝶阀以220V AC电源为动力,接受0~10mA或4~20mA标准信号,驱使阀门开度与此操作信号相对应,达到调节介质压力、流量、温度之目的,结构简单,操作方便。 阀板为椭圆斜关结构,泄漏量小。适用于大口径、大流量场合。由于有自清洗作用,所以特别适用于通风系统和含有悬浮颗粒介质的调节。
该蝶阀与电动执行机构配套使用,能对冶金、电力、石化、轻仿、建材、环保工业管路中各种液体、气体、尘气、烟气等介质通过不同的控制信号改变流量大小,从而实现工业过程的自动调节和远距离控制。
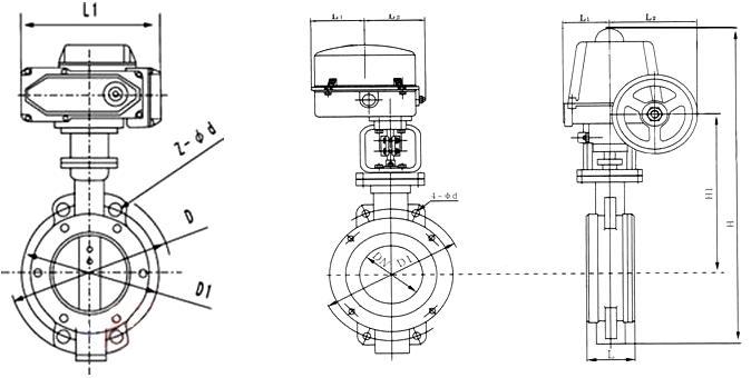
电动调节蝶阀 主要技术参数
公称通径mm | 50 80 100 125 150 200 250 300 350 400 450 500 600 700 800 900 1000 |
额定流量系数Kv | 85 220 340 530 770 1360 2310 3060 4160 5450 6900 8500 12200 16600 21700 27100 34000 |
公称压力MPa | 0.1 |
允许压差MPa | 0.6 0.5 0.25 0.14 0.06 0.032 0.046 0.029 0.02 0.033 0.024 0.009 0.016 0.011 0.008 |
阀板转角 | 0~70° |
流量特性 | 近似等百分比 |
阀颈型式 | 普通式(常温型);热片式(中温型) |
介质温度℃ | 铸铁:-20~+200;铸钢:-40~+250(常温型); -40~+450(中温型) |
法兰标准 | 法兰连接:JB81-59 |
注:1. 表列许用压差为阀板70°全开时的值,小于70°使用时,△P为会提高。
2. 如欲高于表列许用压差可选配大一档执行机构。


