首页
关于我们
产品中心
工程案例
技术论坛
售后服务
联系我们
首页
关于我们
公司简介
产品中心
工程案例
工程案例
技术论坛
技术论坛
售后服务
售后服务
联系我们
联系我们
PRODUCTS
产品展示
产品中心
当前位置:
首页
> > 产品展示
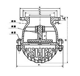
H42X升降式底阀
工作原理:
产品详情
产品参数
H42X升降式底阀安装在水泵吸水管路的底端,能自动阻止流体倒流。
返回
向你推荐
美标不锈钢铸造球阀维修
美标Y型过滤器维修 阀门维修
电动球阀维修 阀门维修 球阀维修
BQ41FHY保温球阀维修
高压锻钢球阀维修,硬密封球阀维修
Q347F国标固定法兰球阀 铸钢球阀维修