PRODUCTS

产品展示

搪玻璃上展式放料阀
工作原理:

搪玻璃设备是含高硅量的玻璃质釉。通过9000℃左右高温涂于金属胎而成。它具有良好的机械性能和耐腐蚀性能,能防止介质与金属离子起取代作用而影响污染制品,并且表面光洁、耐磨、有一定的热稳定性。在化工、石油、冶金、制药、农药、染料、食品加工等行业广泛使用。

搪玻璃下展式放料阀适用于设计压力P≤0.6MPa,工作温度t≤150℃的搪玻璃下展式放料阀。该阀技术条件应符合HG5-16-79的规定。此阀除磷及磷轻介质、氢氟碳、盐酸、氢氧化钠氢氧化钾外能耐各种酸、碱、盐溶液及有机溶剂。

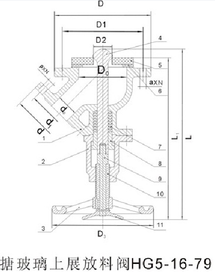
搪玻璃上展式放料阀

搪玻璃上展式放料阀





搪玻璃设备是含高硅量的玻璃质釉。通过9000℃左右高温涂于金属胎而成。它具有良好的机械性能和耐腐蚀性能,能防止介质与金属离子起取代作用而影响污染制品,并且表面光洁、耐磨、有一定的热稳定性。在化工、石油、冶金、制药、农药、染料、食品加工等行业广泛使用。

搪玻璃下展式放料阀适用于设计压力P≤0.6MPa,工作温度t≤150℃的搪玻璃下展式放料阀。该阀技术条件应符合HG5-16-79的规定。此阀除磷及磷轻介质、氢氟碳、盐酸、氢氧化钠氢氧化钾外能耐各种酸、碱、盐溶液及有机溶剂。

搪玻璃上展式放料阀

搪玻璃上展式放料阀





返回
二维码